iPhone ze składanym wyświetlaczem? Przyznam szczerze, że podejście Apple do tematu składanych smartfonów mogłoby być czymś naprawdę ciekawym. Oczywiście urządzenia tego typu nadal są ciekawostką, która nie cieszy się zbyt dużą popularnością, ale w bliżej nieokreślonej przyszłości wszystko może się zmienić.
Nowy patent Apple
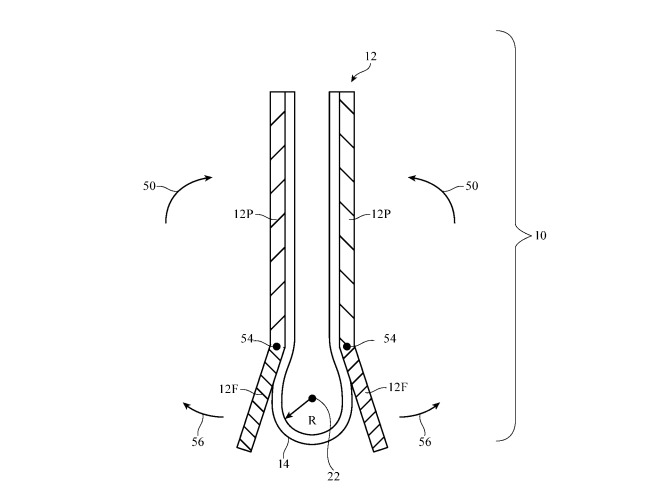
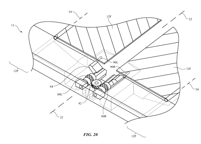
We wtorek Urząd Patentów i Znaków Towarowych Stanów Zjednoczonych opublikował patent giganta z Cupertino, który dotyczy urządzenia elektronicznego z elastycznym wyświetlaczem oraz zawiasami. Oczywiście tego typu opis kojarzy się momentalnie z iPhonem z składanym ekranem, o którym słyszymy już od jakiegoś czasu. Apple jednak chce stworzyć coś czego jeszcze nie było. Amerykański producent opracował system zawiasów pozwalający na takie złożenie telefonu, że na wyświetlaczu nie mają pojawić się jakiekolwiek linie gięcia czy nierówności. Zawiasy zostaną bowiem tak zaprojektowane, aby ekran cały czas był zaokrąglony z odpowiednim promieniem. I według amerykańskiego giganta to wystarczy, aby stworzyć elastyczny wyświetlacz, który przez cały czas będzie wyglądać fenomenalnie.
Oczywiście to nie pierwszy patent Apple nawiązujący do składanego telefonu. Pierwsze wnioski pojawiły się już w 2018 roku, ale nadal technologia produkcji elastycznych wyświetlaczy nie jest idealna. Niemniej jednak Motorola RAZR została bardzo ciepło przyjęta przez rynek mobilny, a już niedługo do sprzedaży trafi także Samsung Galaxy Z Flip. Tym samym jeśli Apple nie chce pozostać w tyle za konkurencją to prędzej czy później musi zaprezentować światu własny tego typu smartfon.
Zobacz także: Apple szuka w Polsce inżyniera do rozwoju Siri. Czyżby nadchodził język polski?
I tak jak sam nie przepadam za produktami Apple to jedno jest pewne – jeśli gigant z Cupertino zaprezentuje światu telefon ze składanym wyświetlaczem to popularność tego typu urządzeń może diametralnie wzrosnąć. Niezależnie od tego czy kochacie czy nienawidzicie Apple trzeba przyznać, że to właśnie amerykański producent bardzo często tworzy trendy, a inne firmy chcą za nimi podążać. Miejmy nadzieję, że już niedługo w sieci pojawią się informacje na temat nadchodzącej nowości Apple!
[totalpoll id=”37978″]Czekacie na pierwszy składany smartfon giganta z Cupertino? Zapraszamy do dyskusji w komentarzach!
Chcesz być na bieżąco? Śledź ROOTBLOG w Google News!

