W sieci pojawiły się informacje dotyczące zupełnie nowego patentu firmy Apple. Tym razem dotyczące one rysika, który miałby odczytywać kolory przedmiotu, do którego sprzęt ten zostanie przyłożony. I trzeba przyznać, że brzmi to naprawdę ciekawie!
Nadchodzi nowa generacja Apple Pancil?
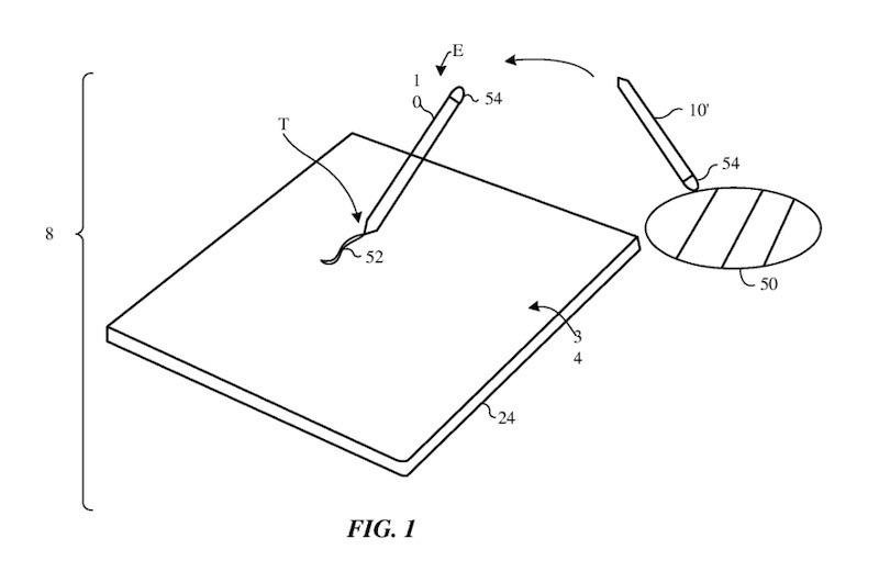
Według patentu nowy rysik giganta z Cupertino miałby być wyposażony w jeden lub kilka fotodetektorów. Urządzenie będzie analizować odbijane przez obiekt światło, a to pozwoli na odczytanie konkretnej barwy. Co więcej Apple Pencil ma zostać wyposażony także w własne źródło światła po to, aby sam odczyt był jeszcze dokładniejszy. Fotodetektory miałyby być umiejscowione po przeciwnej stronie niż końcówka, której używamy, aby nawigować po ekranie iPada. Informacje zbierane przez rysik mają być momentalnie wysyłane do sparowanego tableta, a następnie użytkownik będzie w stanie korzystać z tej barwy przy rysowaniu, obrabianiu zdjęć czy dowolnym inny zadaniu.

I mam wrażenie, że rozwiązanie to mogłoby skraść serca fotografom czy grafikom. Musimy jednak pamiętać o tym, że od patentu do gotowego produktu może minąć sporo czasu, a duża część urządzeń, które znajdziemy w urządzenie patentowym tak naprawdę nigdy nie trafia na rynek. Wniosek dotyczący nowego rozwiązania w Apple Pencil został złożony przez amerykańskiego producenta w listopadzie 2019 roku, ale dopiero teraz informacje na ten temat zostały ujawnione światu.
Zobacz także: Apple i budżetowiec? Amerykański producent uderzy w rynek „tysiączłotówkowców”
Bardzo możliwe, że Apple będzie chciało zaprezentować światu nowy rysik jeszcze w tym roku. We wrześniu amerykański producent wprowadzi na rynek nowe smartfony oraz możliwe także tablety, a ciekawym dodatkiem byłaby kolejna generacja Apple Pencil. Czy faktycznie rozwiązanie pojawiające się we wniosku patentowym zostanie wykorzystane w praktyce? Tego dowiemy się zapewne dopiero podczas oficjalnej premiery!
Co myślicie o nowym patencie amerykańskiego producenta? Czekacie na kolejną generację Apple Pencil? Zapraszamy do dyskusji w komentarzach!
Chcesz być na bieżąco? Śledź ROOTBLOG w Google News!