Producenci starają się nas zaskakiwać coraz bardziej. Powrót sliderów, wysuwane aparaty, elastyczne wyświetlacze. Microsoft postawił natomiast na możliwość pisania po obudowie ich urządzenia Surface. Brzmi ciekawie?
Czyżby dzieci zainspirowały giganta z Redmond?
Macie dzieci lub młodsze rodzeństwo? Jeśli tak, to mieliście kiedyś taką sytuację, że wracacie do domu i maluchy korzystają z waszego tabletu, ale z niewłaściwej strony i przy użyciu markera permanentnego? Mi osobiście się to przytrafiło, po tym zacząłem bardziej dbać o swoje urządzenia. Firma Billa Gates’a może właśnie takimi incydentami zainspirowała się przy składaniu wniosku patentowego. Co prawda, złożyli go już 1 maja 2017 roku, ale dopiero wraz z początkiem listopada tego roku został opublikowany przez Urząd Patentów i Znaków Towarowych w USA.
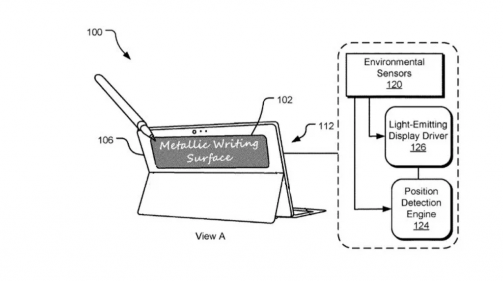
Na czym ma to polegać? Otóż cały patent dotyczy tzw. “wyświetlacza odblaskowego”, mającego imitować metalową powierzchnię. Będzie możliwość pisania po nim przy użyciu dedykowanego rysika. Chodzi o to, by zagospodarować ten nieużywany obszar, jednocześnie by wyglądało to jak cała reszta obudowy.
Spójrzmy jednak na to pod kątem praktycznego zastosowania. Uważacie, że takie coś może być choć trochę przydatne? Według mnie, nie. No bo co to za różnica, czy będziecie pisać po ekranie, czy po takim ukrytym wyświetlaczu na obudowie? No chyba, że wziąć pod uwagę funkcje Always on Display itp., to wtedy ma to jakiś minimalny sens. Mimo wszystko, nie czuję, by właśnie tego oczekiwało społeczeństwo. No chyba, że Microsoft ma jakiegoś asa w rękawie wykorzystującego ten ekranik, wtedy to ma szansę na sukces.
A wy, czego byście oczekiwali od nowego urządzenia Surface? Piszcie swoje pomysły w komentarzach!
Chcesz być na bieżąco? Śledź ROOTBLOG w Google News!

