Składane smartfony to tak naprawdę nadal pewnego rodzaju ciekawostka. Oczywiście tego typu urządzenia już trafiły na rynek, ale technologia pozwalająca na produkcję elastycznych wyświetlaczy nadal nie jest doskonała. Wszystko wskazuje na to, że Apple jest tego świadome i zamierza podejść do tematu w zupełnie inny sposób!
Dwa iPhone’y połączone w jedno urządzenie?
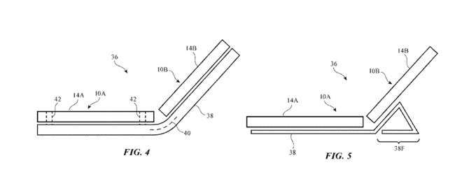
Pamiętacie jeszcze Surface Duo Microsoftu czy flagowce LG, które mają możliwość dołączenia drugiego ekranu? Nad czymś podobnym pracuje właśnie Apple. W sieci pojawiły się szczegóły dotyczące nowego patentu giganta z Cupertino. Oczywiście firma ta już wcześniej patentowała rozwiązania dotyczące składanych czy zwijanych wyświetlaczy, ale mam wrażenie, że Apple nadal nie jest gotowe na masową produkcję tego typu urządzeń. Nowy pomysł amerykańskiego producenta wydaje się jednocześnie prosty i genialny, ale oczywiście nie jest pozbawiony wad. Według patentu iPhone’y miałyby być wyposażone w specjalne czujniki wykrywające bliskość drugiego sprzętu i pozwalające na szybkie sparowanie.

Tym samym dwa smartfony mogłyby połączyć się w jedno urządzenie i stworzyć coś podobnego do składanych telefonów, ale jednocześnie pozbawione zawiasu i zagięć na środku wyświetlacza. Wygląda ciekawie prawda? Jak już wspominałem wcześniej rozwiązanie to jednak nie jest pozbawione wad. Po pierwsze musielibyśmy kupić aż dwa smartfony zamiast jednego. Oczywiście składane telefony na tę chwilę i tak są dużo droższe niż tradycyjne sprzęty, ale w przypadku Apple cena mogłaby być naprawdę wysoka. Po drugie noszenie w kieszeni dwóch telefonów nie jest zbyt wygodne.
Zobacz także: Wygląd słuchawek Apple Powerbeats 4 przestał być tajemnicą za sprawą renderów prądowych
Niemniej jednak musimy pamiętać o tym, że nie wszystkie patentowane rozwiązania trafiają na rynek. Tym samym tak naprawdę nowy pomysł Apple może pozostać jedynie patentem i nigdy nie zobaczymy tego typu urządzenia. Przyznam szczerze, że bardzo ciekawi mnie to jak rozwinie się sytuacja z składanymi smartfonami. Czy zostaną one dopracowane do perfekcji i zdobędą prawdziwą popularność? Czas pokaże.
Co myślicie o nowym patencie Apple? Zapraszamy do dyskusji w komentarzach!
Chcesz być na bieżąco? Śledź ROOTBLOG w Google News!